통합 검색
통합 검색
아즈텍은 지난 20여년간 수많은 기업들과의 협업을 통해 수많은 OEM제품을 개발하여
공급하여 왔습니다. 제품의 종류는 HEAT-SINK부터 플라스틱 사출물까지 매우
다양합니다. 최소의 개발비용으로 최고의 퀄리티를 원하신다면 저희에게 문의 주세요.



Wind tunnel heat-sink는 아즈텍에서 개발한 새로운 형태의 히트싱크 기술로 히트싱크의 형태를 육각형,또는 사각형,원형 형태로 성형하여 히트싱크의 면적대비 방열면적을 획기적으로 높인 형태의 새로운 기술입니다.


윈드 터널의 Honeycomb구조의 육각형 통로는 팬에서 발생하는 바람 마찰음을 일반 형태의 방열판 대비 30% 저감시켜 저소음 환경 구축이 중요한곳에 도움을 줄 수 있습니다.






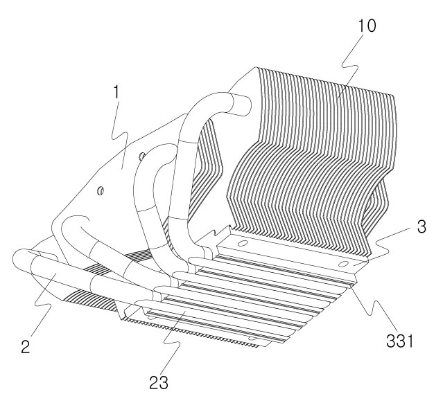
아즈텍의 HDC기술의 특징는 히트파이프를 압착 한 후 갈아내는 두께를 최소화 하여 히트파이프가 파손또는 부식 누수가 발생되는 불량을 최소하도록 고안된 아즈텍만의 독자적인 생산 특허 기술입니다.

아즈텍의 HDC기술은 히트파이프 고정 블록에 특수한 요철가공을 하여 히트파이프 평탄화를 위한 프래싱 가공시 발생되는 히트파이프 함몰( 凹)변형 불량을 최소화 하여 생산비용의 절감되도록 고안된 기술입니다.

아즈텍의 브랜드 공급사들은 저희와 20년을 함께한 파트너들 입니다.
EVERFLOW,ASTRO FAN, DLT는 2005년 처음 PC쿨러를 개발 납품 할 당시부터 저희에게 물건을 공급하며 함께 개발을 진행하여 주던 공급사로 저희와 20년을 함께 해 온 업체들 입니다.
수많은 제품 공급 경험이 저희의 장점 입니다.
DC FAN은 설치되는 환경에 따라 고려해야 하는 부분이 매우 많은 제품입니다. 베어링에 따른 수명 내구성과 제품 특성 별 IC의 적합성 그리고 소음에 따른 풍량과 풍압의 비례관계와 방수 방진등 매우 다양한 것들을 체크해야 합니다. 또한 어떻게 장착해야 가장 효과적으로 열을 배출 시킬 수 있을지도 고려해야 하는 부분들 입니다. 저희는 매우 많은 경험을 가지고 있습니다. 고민 하지 마시고 저희에게 문의 주세요.